设备管理用户操作手册
1. 功能概述
设备管理是 Husky 设备维护服务管理系统中的核心功能模块,用于统一管理所有设备的基础信息、状态监控、分配管理和维护记录。系统支持完整的设备生命周期管理,包括设备入库、分配、维护、报废等各个环节。
1.1 主要功能
- 设备基础信息管理:设备编码、名称、型号、序列号等基础信息维护
- 设备状态管理:实时监控设备状态(正常、警告、故障、维护中、离线、报废)
- 设备分配管理:支持设备在客户和项目间的分配与转移
- 设备照片管理:支持设备照片上传、预览和管理
- 设备转移记录:完整的设备转移历史记录追踪
- 设备统计报表:设备状态分布统计和多维度数据分析
1.2 系统价值
- 统一管理:集中管理所有设备信息,避免信息孤岛
- 实时监控:及时掌握设备运行状态,提前预警
- 精细化管理:支持设备在客户和项目间的精细化管理
- 历史追溯:完整的设备生命周期记录,便于追溯和分析
2. 系统访问
2.1 登录系统
- 打开浏览器,访问系统地址
- 输入用户名和密码登录系统
- 在主菜单中找到「业务管理」→「设备管理」
2.2 权限要求
- 查看权限:
business:equipment:list - 新增权限:
business:equipment:add - 修改权限:
business:equipment:edit - 删除权限:
business:equipment:remove - 导出权限:
business:equipment:export - 分配权限:
business:equipment:assign - 转移权限:
business:equipment:transfer
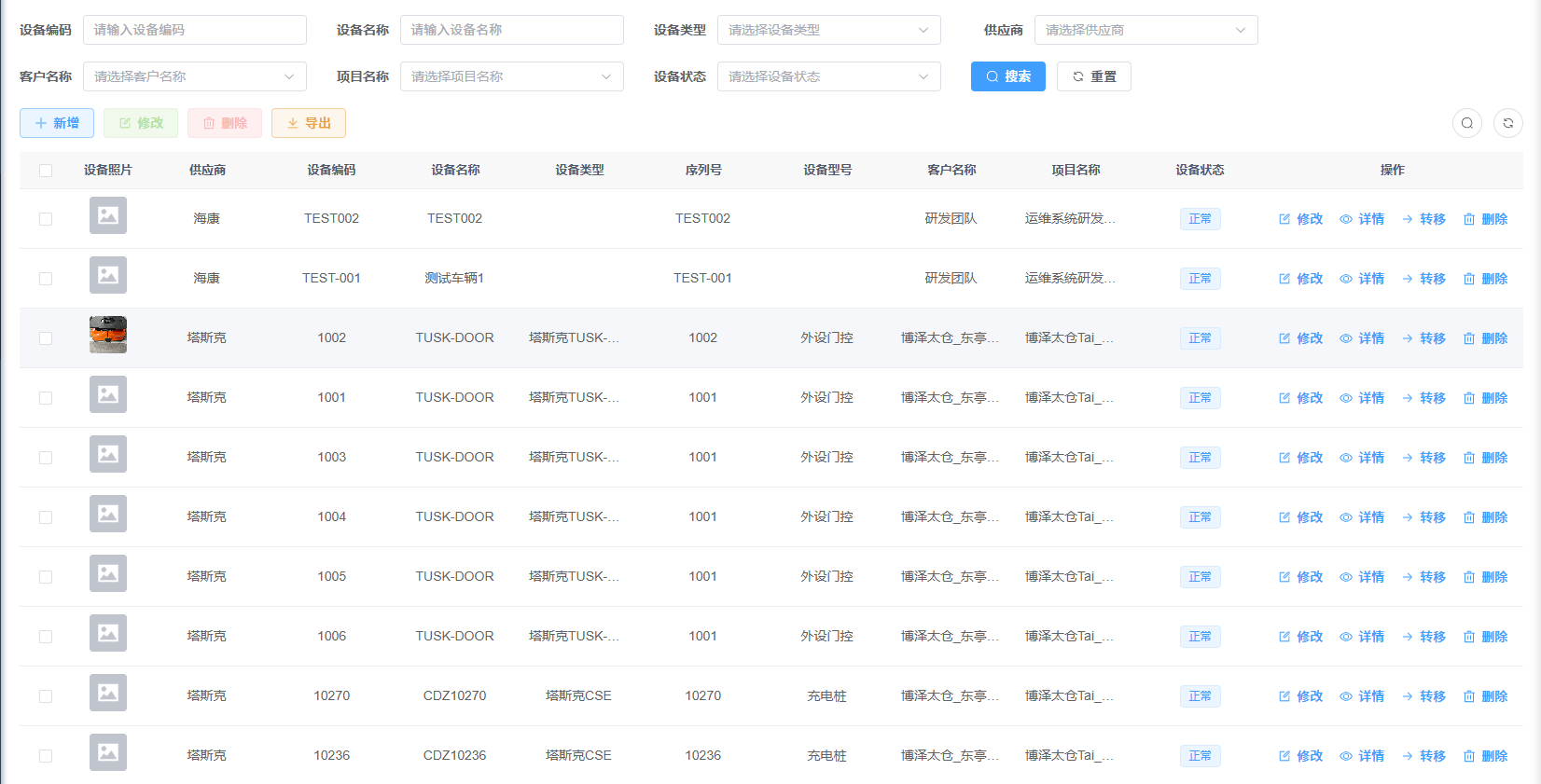
3. 主界面介绍

3.1 搜索区域
界面顶部提供多种搜索条件:
- 设备编码:输入设备编码进行精确或模糊搜索
- 设备名称:输入设备名称进行模糊搜索
- 设备类型:选择设备类型(支持模糊搜索)
- 供应商:选择供应商(支持模糊搜索)
- 客户名称:选择客户进行筛选
- 项目名称:选择项目进行筛选
- 设备状态:选择设备状态(正常/警告/故障/维护中/离线/报废)
- 序列号:输入序列号进行精确搜索
- 设备型号:输入设备型号进行模糊搜索
- MAC地址:输入MAC地址进行精确搜索
- 主控版本:输入主控版本进行搜索
操作按钮:
- 搜索:根据输入条件执行搜索
- 重置:清空所有搜索条件
3.2 操作按钮区域
- 新增:创建新的设备记录
- 修改:修改选中的设备(需选中一条记录)
- 删除:删除选中的设备(可批量删除)
- 导出:导出当前搜索结果的 Excel 文件
- 分配:将设备分配给客户和项目
- 转移:在不同客户和项目间转移设备
- 设备状态统计:查看设备状态分布统计
3.3 数据列表区域
列表显示以下字段:
- 设备编码:系统生成的唯一编码
- 设备名称:设备的显示名称
- 设备类型:设备所属类型
- 供应商:设备供应商信息
- 客户名称:设备当前分配的客户
- 项目名称:设备当前分配的项目
- 设备状态:设备当前状态(彩色标签显示)
- 序列号:设备序列号
- 设备型号:设备型号信息
- 操作:提供详情、修改、删除等操作
3.4 状态标签说明
- 正常:绿色标签,设备运行正常
- 警告:橙色标签,设备存在潜在问题
- 故障:红色标签,设备出现故障
- 维护中:灰色标签,设备正在维护
- 离线:灰色标签,设备离线状态
- 报废:红色标签,设备已报废
4. 基础操作
4.1 搜索设备
- 在搜索区域输入或选择相应的搜索条件
- 点击「搜索」按钮
- 系统将在下方列表显示符合条件的设备
4.2 重置搜索条件
- 点击「重置」按钮
- 所有搜索条件将被清空
- 系统自动刷新显示所有设备
4.3 新增设备
- 点击「新增」按钮
- 在弹出的对话框中填写设备信息
- 点击「确定」保存设备

4.4 修改设备
- 在列表中找到要修改的设备
- 点击该行右侧的「修改」按钮
- 在弹出的对话框中修改设备信息
- 点击「确定」保存修改

4.5 删除设备
- 在列表中勾选要删除的设备(可多选)
- 点击「删除」按钮
- 在确认对话框中点击「确定」执行删除
4.6 查看设备详情
- 在列表中找到要查看的设备
- 点击该行右侧的「详情」按钮
- 在弹出的对话框中查看设备的完整信息

5. 设备信息管理详细操作
5.1 创建设备记录
5.1.1 基本信息填写
- 点击「新增」按钮
- 设备编码:
- 系统建议使用规则:EQUIP + 年月日 + 4位随机数
- 例如:EQUIP20241215001
- 确保编码唯一性
- 设备名称:输入设备的显示名称
- 设备类型:
- 从下拉列表选择设备类型
- 支持搜索筛选
- 如无合适类型,可联系管理员添加
- 供应商:
- 从下拉列表选择供应商
- 支持搜索筛选
- 如无合适供应商,可勾选”新增供应商”自动创建
5.1.2 技术信息填写
- 序列号:输入设备序列号(唯一标识)
- 设备型号:输入设备型号信息
- 生产日期:选择设备生产日期
- MAC地址:输入设备MAC地址
- 主控版本:输入设备主控板版本信息
- 备注:输入其他说明信息
5.1.3 设备照片上传
- 在「设备照片」区域:
- 点击上传按钮或拖拽图片到上传区域
- 支持格式:JPG、PNG、GIF等常见图片格式
- 建议尺寸:800x600像素以上
- 文件大小:不超过5MB
- 支持多张照片上传
- 上传后可预览和删除
5.1.4 保存设备记录
- 确认所有必填信息已完整填写
- 点击「确定」按钮
- 系统验证数据完整性和唯一性
- 保存成功后自动关闭对话框并刷新列表
5.2 修改设备信息
- 找到要修改的设备并点击「修改」
- 修改基本信息和技术信息
- 更新设备照片(如需要)
- 点击「确定」保存修改
5.3 设备照片管理
5.3.1 上传照片
- 在设备表单的「设备照片」区域
- 点击上传按钮选择图片
- 或直接拖拽图片到上传区域
- 等待上传完成
5.3.2 预览照片
- 在设备列表中点击设备照片
- 或在设备详情中查看照片
- 系统提供放大预览功能
5.3.3 删除照片
- 在设备表单中找到要删除的照片
- 点击照片右上角的删除按钮
- 确认删除操作
6. 设备分配管理

6.1 设备分配给客户和项目
6.1.1 单个设备分配
当前设备分配 与 转移 都是转移
6.2 设备转移管理
6.2.1 设备转移操作
- 在设备列表中找到要转移的设备
- 点击「转移」按钮
- 在转移对话框中:
- 显示当前分配信息
- 选择新的客户和项目
- 填写转移原因(必填)
- 填写转移备注(可选)
- 点击「确定」完成转移
6.2.2 查看转移历史
- 在设备详情页面
- 切换到「转移历史」标签页
- 查看完整的转移记录:
- 转移时间
- 原客户/项目
- 新客户/项目
- 转移人
- 转移原因
- 转移备注
6.3 查看分配状态
- 在设备列表中查看「客户名称」和「项目名称」列
- 未分配的设备显示为”未分配”
- 已分配的设备显示具体的客户和项目名称
- 在设备详情中可查看详细的分配信息
7. 设备状态管理
7.1 设备状态类型
系统支持以下设备状态:
- 正常(normal):设备运行正常,无异常
- 警告(warning):设备存在潜在问题,需要关注
- 故障(fault):设备出现故障,需要维修
- 维护中(maintenance):设备正在维护,暂时停用
- 离线(offline):设备离线,无法连接
- 报废(scrapped):设备已报废,不再使用
7.2 修改设备状态
- 在设备列表中找到要修改状态的设备
- 点击「修改」按钮
- 在「设备状态」字段中选择新的状态
- 点击「确定」保存修改
7.3 设备状态统计(可扩展)
- 点击「设备状态统计」按钮
- 查看状态分布统计:
- 各状态设备数量
- 各状态设备占比
- 可视化图表展示
- 支持按条件筛选统计
8. 高级功能
8.1 设备导出功能
8.1.1 导出Excel
- 设置搜索条件筛选需要的设备
- 点击「导出」按钮
- 系统导出当前搜索结果的Excel文件
- 包含所有设备详细信息
8.2 设备编码管理
8.2.1 编码规则建议
- 建议格式:EQUIP + 年月日 + 4位随机数
- 示例:EQUIP20241215001
- 确保编码唯一性
- 便于后续管理和查询
8.2.2 编码唯一性检查
- 系统自动检查设备编码唯一性
- 重复编码将提示错误
- 建议使用系统自动生成的编码
8.3 供应商管理
8.3.1 选择供应商
- 在设备表单中点击「供应商」下拉框
- 从列表中选择现有供应商
- 支持搜索筛选功能
9. 数据字典说明
9.1 设备状态(equipment_status)
- 正常(normal):设备运行正常
- 警告(warning):设备存在潜在问题
- 故障(fault):设备出现故障
- 维护中(maintenance):设备正在维护
- 离线(offline):设备离线状态
- 报废(scrapped):设备已报废
9.2 设备类型(equipment_type)
设备类型由系统管理员管理,包括:
- 各类设备的具体类型
- 支持层级分类管理
- 可根据业务需要自定义
9.3 供应商状态(supplier_status)
- 正常(0):供应商正常合作
- 停用(1):供应商合作暂停
10. 注意事项
10.1 设备编码规则
- 设备编码必须唯一,不能重复
- 建议使用统一的编码规则
- 编码一旦创建不建议修改
10.2 数据完整性
- 设备编码、设备名称、设备类型为必填项
- 序列号建议填写,便于设备追踪
- 供应商信息有助于后续维护和质保
10.3 照片上传要求
- 支持格式:JPG、PNG、GIF等常见图片格式
- 建议尺寸:800x600像素以上
- 文件大小:单张照片不超过5MB
- 建议上传设备正面、侧面、铭牌等多角度照片
10.4 设备分配注意事项
- 设备可以分配给客户和项目
- 一个设备同时只能分配给一个客户的一个项目
- 转移设备会记录完整的转移历史
- 分配前请确认客户和项目信息的准确性
10.5 权限控制
- 不同角色的用户具有不同的操作权限
- 请确保登录用户具有相应的操作权限
- 敏感操作(如删除、转移)需要相应权限
11. 常见问题
11.1 为什么无法保存设备信息?
答:请检查必填字段是否完整填写,设备编码是否重复,网络连接是否正常。
11.2 设备照片上传失败怎么办?
答:请检查照片格式和大小是否符合要求,确保网络连接正常,尝试重新上传。
11.3 如何修改已分配的设备?
答:找到设备后点击「修改」按钮,可以修改设备的基本信息和技术信息,但分配信息需要通过「转移」功能修改。
11.4 删除的设备能否恢复?
答:删除操作不可逆,请谨慎操作。建议在删除前确认设备是否被其他业务使用。
11.5 设备状态如何选择?
答:根据设备实际运行状态选择:
- 正常:设备运行良好
- 警告:设备存在潜在问题
- 故障:设备出现故障需要维修
- 维护中:设备正在维护
- 离线:设备无法连接
- 报废:设备不再使用
11.6 如何批量操作设备?
答:在设备列表中勾选多个设备,可以进行批量分配、删除等操作。
12. 联系支持
如遇到操作问题或系统故障,请联系系统管理员或技术支持团队。
文档版本:1.0
更新日期:2024年12月
适用系统版本:Husky 设备维护服务管理系统 v3.9.0+
作者:聂盼盼 创建时间:2025-10-15 20:02
最后编辑:聂盼盼 更新时间:2025-10-28 19:53
最后编辑:聂盼盼 更新时间:2025-10-28 19:53